В данный момент нет активных товаров
В зависимости от конструкции, износоустойчивости, способа установки, условного давления Ру и условного прохода трубопровода Dу диафрагмы подразделяются на:
1. ДКС по ГОСТ 8.586-2005 - диафрагма камерная стандартная, устанавливаемая во фланцах трубопровода.
2. ДБС по ГОСТ 8.586-2005 - диафрагма бескамерная стандартная, устанавливаемая во фланцах трубопровода.
3. ДФК (разработана по типу ДКС для Dу < 50) – диафрагма фланцевая, камерная, имеет оригинальную конструкцию, которая позволяет сочетать камерный способ отбора давления и фланцевое соединение.
4. ДВС – диафрагма с угловым способом отбора перепада давления на высокое давление (устанавливается непосредственно во фланцах, снабженных кольцевыми камерами).
5. ДФС – диафрагма с фланцевым способом отбора перепада давления.
6. Специальные диафрагмы по РД 50-411:
Специальные исполнения диафрагм ДКС, ДБС, ДФК в зависимости от Dу приведены в табл.1.Таблица 1.
| Специальное исполнение | Dу | ||||
| 20...40 | 50...100 | 30...40 | 50...500 | 300...1000 | |
| С коническим входом | ДФК | ДКС | - | - | - |
|
Износоустойчивые (стандартные со снятой фаской по входной кромке) |
- | - | ДФК | ДКС | ДБС |
СПОСОБЫ ОТБОРА ДАВЛЕНИЯ
| Тип диафрагмы | Способ отбора давления | ||
| Угловой с кольцевыми щелями | Фланцевый | Трехрадиусный | |
| ДКС | + | - | - |
| ДБС | + | + | + |
| ДФК | + | - | - |
| Достоинства способа | Удобство применения - не нужно сверлить стенку трубопровода | Диаметры отверстий для отбора давления существенно больше по сравнению с угловым способом, поэтому влияние шероховатости и вероятность засорения гораздо ниже | |
| Недостатки способа | Очень малые диаметры отверстий для отбора давления, поэтому велика вероятность засорения и велико влияние шероховатости | - | Необходимость дополнительного сверления 2-х отверстий в стенке трубопровода |
Конструктивные исполнения ДИАФРАГМЫ ДКС
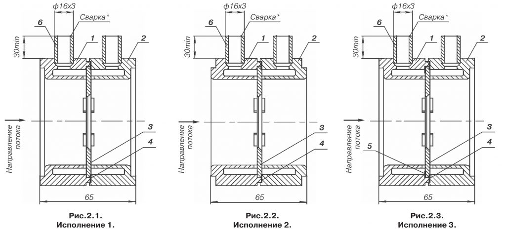
Конструктивные исполнения ДКС - см.рис.2.1, 2.2, 2.3 по МИ 2638-2001. Отбор давления среды в корпуса кольцевых камер ДКС выполняется через кольцевую щель. Номенклатура ДКС приведена в табл.3, 4.
* По спецзаказу возможно резьбовое исполнение.
1 - корпус плюсовой кольцевой камеры;
2 - корпус минусовой кольцевой камеры;
3 - диафрагма;
4, 5 - уплотнительные прокладки;
6 - патрубок (под сварку) 16х3.
Номенклатура ДКС
Обозначение диафрагм типа ДКС
Таблица 3.| Условный проход Dу | Обозначение диафрагмы при условном давлении Ру, МПа | |
| до 0,6 | Свыше 0,6 до 10 | |
| 50 | ДКС 0,6 - 50 | ДКС 10 - 50 |
| 65 | ДКС 0,6 - 65 | ДКС 10 - 65 |
| 80 | ДКС 0,6 - 80 | ДКС 10 - 80 |
| 100 | ДКС 0,6 - 100 | ДКС 10 - 100 |
| 125 | ДКС 0,6 - 125 | ДКС 10 - 125 |
| 150 | ДКС 0,6 - 150 | ДКС 10 - 150 |
| 175 | ДКС 0,6 - 175 | ДКС 10 - 175 |
| 200 | ДКС 0,6 - 200 | ДКС 10 - 200 |
| 225 | ДКС 0,6 - 225 | ДКС 10 - 225 |
| 250 | ДКС 0,6 - 250 | ДКС 10 - 250 |
| 300 | ДКС 0,6 - 300 | ДКС 10 - 300 |
| 350 | ДКС 0,6 - 350 | ДКС 10 - 350 |
| 400 | ДКС 0,6 - 400 | ДКС 10 - 400 |
| 450 | ДКС 0,6 - 450 | ДКС 10 - 450 |
| 500 | ДКС 0,6 - 500 | ДКС 10 - 500 |
Таблица 4.
| Условный проход, Dу | Длина цилиндрической части отверстия, мм | Диаметр трубопровода, мм | ||
| Наружный Dн, мм | Наружный Dн, мм | |||
| До 2,5 МПа | Свыше 2,5 до 10 МПа | |||
| 50 | от 0,265 до 1 | 57 | от 50 до 53 | от 50 до 54 |
| 65 | от 0,36 до 1,06 | 76 | свыше 53 до 73 | свыше 54 до 73 |
| 80 | от 0,43 до 1,44 | 89 | свыше 73 до 86 | свыше 73 до 84 |
| 100 | от 0,52 до 1,7 | 108 | свыше 86 до 105 | свыше 84 до 103 |
| 125 | от 0,65 до 2,08 | 133 | свыше 105 до 130 | свыше 103 до 127 |
| 150 | от 0,77 до 2,58 | 159 | свыше 130 до 155 | свыше 127 до 152 |
| (175) | от 0,94 до 3,08 | 194 | свыше 155 до 189 |
свыше 152 до 185
|
| 200 | от 1,06 до 3,76 | 219 | свыше 189 до 213 | свыше 185 до 210 |
| (225) | от 1,19 до 4,24 | 245 | свыше 213 до 237 | свыше 210 до 233 |
| 250 | от 1,33 до 4,74 | 273 | свыше 237 до 266 | свыше 233 до 261 |
| 300 | от 1,59 до 5,3 | 325 | свыше 266 до 317 | свыше 261 до 310 |
| 350 | от 1,85 до 6,34 | 377 | свыше 317 до 369 | свыше 310 до 360 |
| 400 | от 2,09 до 7,38 | 426 | свыше 369 до 418 | свыше 360 до 407 |
| (450) | от 2,35 до 8,36 | 480 | свыше 418 до 470 | свыше 407 до 461 |
| 500 | от 2,6 до 9,4 | 530 | Свыше 470 до 520 | свыше 461 до 510 |
ФЛАНЦЫ И СОЕДИНЕНИЯ ФЛАНЦЕВЫЕ ДЛЯ ДКС
Комплект фланцев или фланцевое соединение (комплект фланцев с калиброванными патрубками 2Dу до и 2Dу после) изготавливаются для ДКС исполнения 1 или 3 (см.рис.2.1 и 2.3 соответственно).
| Pу, МПа | Dу | D, мм | L*, мм | Масса без ДКС, кг | Pу, МПа | Dу | D, мм | L*, мм | Масса без ДКС, кг |
| до 0,6 | 50 | 160 | 280 | 4,8 | 1,6 | 50 | 160 | 280 | 6,6 |
| 65 | 180 | 360 | 6,0 | 65 | 180 | 360 | 8,5 | ||
| 80 | 195 | 420 | 8,9 | 80 | 195 | 420 | 11,2 | ||
| 100 | 205 | 480 | 11,2 | 100 | 215 | 480 | 15,8 | ||
| 125 | 235 | 580 | 16,7 | 125 | 245 | 580 | 23,2 | ||
| 150 | 260 | 680 | 21,7 | 150 | 280 | 680 | 29,6 | ||
| 200 | 315 | 920 | 41,8 | 200 | 335 | 920 | 52,8 | ||
| 250 | 370 | 1160 | 70,5 | 250 | 405 | 1160 | 86,5 | ||
| 300 | 435 | 1360 | 109,3 | 300 | 460 | 1358 | 128,6 | ||
| 350 | 485 | 1540 | 154,2 | 350 | 520 | 1538 | 185,6 | ||
| 400 | 535 | 1760 | 198,6 | 400 | 580 | 1758 | 235,3 | ||
| 500 | 640 | 2160 | 266,7 | 500 | 710 | 2158 | 334,3 | ||
| 1,0 | 50 | 160 | 280 | 6,6 | 2,5 | 50 | 160 | 280 | 8,5 |
| 65 | 180 | 360 | 8,5 | 65 | 180 | 360 | 11,1 | ||
| 80 | 195 | 420 | 11,2 | 80 | 195 | 420 | 13,5 | ||
| 100 | 215 | 480 | 15,8 | 100 | 230 | 480 | 20,4 | ||
| 125 | 245 | 580 | 23,2 | 125 | 270 | 580 | 29,7 | ||
| 150 | 280 | 680 | 29,6 | 150 | 300 | 680 | 37,6 | ||
| 200 | 335 | 920 | 52,8 | 200 | 360 | 920 | 63,9 | ||
| 250 | 390 | 1160 | 86,5 | 250 | 425 | 1160 | 102,6 | ||
| 300 | 440 | 1358 | 128,6 | 300 | 485 | 1360 | 148,0 | ||
| 350 | 500 | 1538 | 185,6 | 350 | 550 | 1540 | 217,0 | ||
| 400 | 565 | 1758 | 235,3 | 400 | 610 | 1760 | 272,0 | ||
| 500 | 670 | 2158 | 334,3 | 500 | 730 | 2160 | 402,0 |
| Ру, МПа | Dу | D, мм | L, мм | Масса без ДКС, кг | Ру, МПа | Dу | D, мм | L, мм | Масса без ДКС, кг | Ру, МПа | Dу | D, мм | L, мм | Масса без ДКС, кг |
| 4,0 | 50 | 160 | 340 |
6,5
|
6,3 | 50 | 175 | 385 | 8,0 | 10 | 50 | 195 | 390 | 12,5 |
| 65 | 180 | 430 | 8,0 | 65 | 200 | 475 | 13,0 | 65 | 220 | 490 | 17,5 | |||
| 80 | 195 | 450 | 10,0 | 80 | 210 | 490 | 15,0 | 80 | 230 | 520 | 20,4 | |||
| 100 | 230 | 575 | 14,6 | 100 | 250 | 599 | 22,0 | 100 | 230 | 640 | 30,0 | |||
| 125 | 270 | 675 | 21,0 | 125 | 295 | 735 | 34,5 | 125 | 310 | 770 | 47,2 | |||
| 150 | 300 | 780 | 27,3 | 150 | 340 | 855 | 51,5 | 150 | 350 | 890 | 66,4 | |||
| 175 | 350 | 815 | 43,3 | 175 | 370 | 870 | 61,0 | 175 | 380 | 1000 | 78,8 | |||
| 200 | 375 | 1045 | 48,0 | 200 | 405 | 1090 | 77,7 | 200 | 430 | 1150 | 109,2 | |||
| 225 | 415 | 1065 | 62,8 | 225 | 430 | 1100 | 90,7 | 225 | 470 | 1190 | 143,0 | |||
| 250 | 445 | 1310 | 75,2 | 250 | 470 | 1340 | 108,2 | 250 | 500 | 1430 | 171,0 | |||
| 300 | 510 | 1540 | 102,0 | 300 | 530 | 1550 | 150,0 | 300 | 585 | 1675 | 256,4 | |||
| 350 | 570 | 1710 | 140,0 | 350 | 595 | 1760 | 212,8 | 350 | 655 | 1870 | 342,4 | |||
| 400 | 655 | 1975 | 211,8 | 400 | 670 | 2010 | 302,8 | 400 | 715 | 2100 | 433,5 |
Конструктивные исполнения ДИАФРАГМЫ ДБС
Конструктивные исполнения ДБС - см. рис.5.
Конструктивные исполнения ДИАФРАГМЫ ДФК
1 - корпус плюсовой кольцевой камеры;
2 - корпус минусовой кольцевой камеры;
3 - диафрагма;
4 - уплотнительная прокладка;
5 - патрубок.
ДИАФРАГМЫ ДВС
Соединения фланцевые для ДВС изготавливаются на условное давление не более 16 МПа. Фланец и кольцевая камера изготавливаются в совмещенном варианте, т.е. камера делается непосредственно во фланцах.
ДИАФРАГМЫ ДФС
Диафрагма фланцевая устанавливается непосредственно во фланцах на условное давление до 10 МПа с условным проходом от 50 до 400. Конструктивно предусмотрено 2 исполнения ДФС.
ДФС исполнения 1 крепится между торцевыми поверхностями фланцев с использованием паронитового уплотнения.
ДФС исполнения 2 сочетает диафрагму и овальное уплотнительное кольцо, используется для крепления между фланцами исполнения 7 по ГОСТ 12815 и не требует дополнительных уплотнительных материалов.
Диафрагма ДФС предусматривает фланцевое крепление диска с использованием фланцевого способа отбора давления. Фланцы изготавливаются согласно ГОСТам 12815, 12821.
Конструктивное исполнение специальных диафрагм
Конструктивное исполнение специальных диафрагм - см.рис.8.1, 8.2.
